
销售热线:137 7771 7703
产品简介
气动单座调节阀采用顶导向结构,配用多弹簧执行机构。具有结构紧凑、重量轻、动作灵敏、流体通道呈S流线型、压降损失小、阀容量大、流量特性精确、拆装方便等优点。
广泛应用于精确控制气体、液体等介质,工艺参数如压力、流量、温度、液位保持在给定值。特别适用于允许泄漏量小阀前后压差不大的工作场合。


1、金属阀芯适合多种工作场合,达IV级泄漏标准,软密封结构阀芯达VI级泄漏标准。
2、波纹管密封型调节阀,对移动的阀杆形成完全的密封,堵绝流体外漏。
3、调节阀带有保温夹套,用于流体冷却后易结晶、凝固造成堵塞的场合。
公称通径 | DN20~DN200 |
工作温度 | -30℃-350℃ |
公称压力 | 1.6Mpa、4.0MPa、6.4MPa |
气源压力 | 0.14~0.4MPa |
适用介质 | 中性液体、石油、纸浆、气体 |
作用方式 | 正作用、反作用 |
膜片材料 | 丁腈橡胶夹增强涤纶织物 |
弹簧量程 | 20~100KPa,40~200KPa,80~240KPa |
连接方式 | 法兰连接,螺纹连接,焊接 |
控制方式 | 开关量或比例式调节 |
阀体材质 | HT200,ZG230-450,ZG1Cr18Ni9Ti、SUS304不锈钢、SUS316不锈钢、WCB |
阀芯材质 | 1Cr18Ni9Ti,司太莱合金堆焊,SUS304不锈钢、SUS316不锈钢 |
球阀密封 | 不锈钢可动硬密封、STL堆焊、PTFE等 |
波 纹 管材质 | 1Cr18Ni9Ti |
垫 片 | 橡胶石棉板、石棉缠绕垫片 |
波纹膜片 | 丁晴橡胶夹增强涤纶织物 |
弹 簧 | 60Si2Mn |
阀杆、推杆 | 2Cr13、1Cr18Ni9Ti、304、316L |
衬 套 | 2Cr13 |
填料材质 | 石墨、PTFE |
制造标准 | JB/T8692-199 |
设计与制造标准 | GB/T4213-92标准 |
产品检查与实验 | JB/T 9092 API598标准 |
耗气量开向体积和关向体积
| 型号 | 开关体积(升) | 关向体积(升) |
| 50 | 0.11 | 0.15 |
| 65 | 0.22 | 0.24 |
| 75 | 0.3 | 0.35 |
| 85 | 0.45 | 0.48 |
| 95 | 0.5 | 0.55 |
| 110 | 0.7 | 0.7 |
| 125 | 1.6 | 1.6 |
| 140 | 2.3 | 2.1 |
| 160 | 3.5 | 3 |
| 190 | 5.9 | 5.9 |
| 210 | 7.6 | 7.5 |
| 240 | 11 | 9 |
| 270 | 17 | 14 |
| 300 | 23.5 | 28 |
| 350 | 34 | 40 |
| 400 | 58 | 58 |
耗气量取决于供气压力,开关形成,体积及动作次数,计算如下:

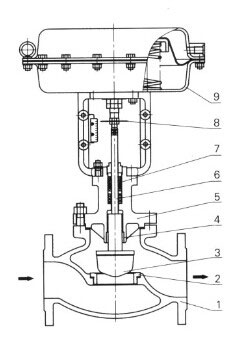
1、气动单座调节阀标准型内部结构图

1、阀体 2、阀座 3、阀芯 4、导向套
5、阀盖 6、阀杆 7、填料
8、阀位指示盘
9、气动薄膜执行机构
图1 标准型(O型)
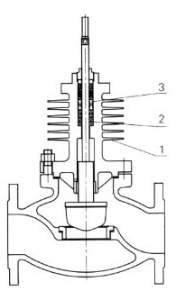
2、气动单座调节阀散热型内部结构图。

1、散热片 2、填料 3、隔离环
图2 散热型(G型)
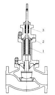
3、气动单座调节阀波纹管密封型内部结构图。

1、波纹管 2、下阀盖(接管) 3、上阀盖
图3 波纹管密封型(V型)
4、气动单座调节阀低温型内部结构图。

1、波纹管 2、长劲阀盖 3、上阀盖
4、冷箱安装法兰 5、填料
*合理的阀芯整体外抽式结构,维护
简单、方便。 图4 低温型(D型)
5、气动单座调节阀切断型(Q型)阀芯内部结构图。

图5 切断型(Q型)阀芯
6、气动单座调节阀夹套保温型(J型)内部结构图。

图6 夹套保温型(J型)

手机二维码

微信二维码